

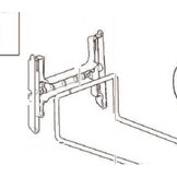
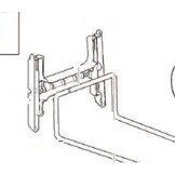
Thetford C220 Trandsport Handel Bevestinging
€17,65 Op voorraad: werkdagen voor 14:00u besteld, zelfde dag verstuurd
- Voor 12.00 uur besteld, volgende werkdag geleverd (indien op voorraad)
- Elders goedkoper? Vraag naar een persoonlijke offerte!
- Vragen over dit product? Bel 085-0707316
- Gratis verzending vanaf €150




